Toshiba TB67H40x DC Motor Drivers
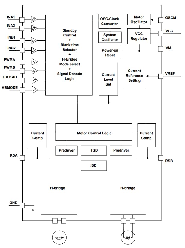
Toshiba TB67H40x 2-channel DC Motor Drivers are designed to support the high current and voltage requirements of brushed DC motors under continuous operation in industrial environments. Developed using the BiCD process, the TB67H40x DC motor drivers offer a 50V maximum rating and a low-on resistance for motor drive output. TB67H40x provides 4A per channel in a 2-channel drive. TB67H40x's parallel channel control function delivers double current when the device's 2-channel outputs are used in a 1-channel configuration. TB67H40x's thermally efficient ZIP package maximizes power dissipation in applications requiring a continuous motor drive with a high current. In addition, TB67H40x features built-in error detection circuits to ensure highly reliable performance. Error detection functions include thermal shutdown, over-current shutdown circuit, and under-voltage lockout circuit. The design of the Toshiba TB67H40x DC motor drivers makes the devices ideal for industrial and office automation, CNC machines, home appliances, ATMs, and banknote counters.
Features
- Monolithic motor driver using BiCD process
- Capable of controlling two brushed DC motors
- 2 drive modes (PWM controlled constant-current/ direct PWM)
- 4 operation modes (Clock-wise/Counter clock-wise/Brake/Stop(Off))
- Low on-resistance output stage
- 0.49Ω(typ.) high side+low side for TB67H400A motor drivers
- 0.8Ω(typ.) high side+low side for TB67H410NG motor drivers
- High voltage and current
- Built-in error detection circuits (Thermal shutdown(TSD), over-current detection (ISD), and power-on reset (POR)
- Built-in voltage regulator for internal circuit operation
- Able to customize PWM (internal chopping) frequency by external components
- Multi-package lineup
Applications
- Industrial automation
- Office automation
- CNC machines
- Home appliances
- ATMs
- Banknote counters
TB67H40x DC Motor Drivers Block Diagram
