Diodes Incorporated AP7330 LDO Regulators
Diodes Incorporated AP7330 LDO (Low Drop-Out) Regulators offer high output voltage accuracy, high Power Supply Rejection Ratio (PSRR), low RDS(ON), and low output noise. These LDO regulators are based on a CMOS process and guarantee an output current of 300mA. The AP7330 LDO regulators include a voltage reference, error amplifier, current limit circuit, and an enable input for ON/OFF switching. These regulators feature a SOT25 package allowing for a small footprint and a dense PCB layout. The AP7330 LDO regulators are well-suited for handheld communication equipment due to their low power consumption and transient responses.Features
- High output voltage accuracy
- Low RDS(ON)
- High PSRR (Power Supply Rejection Ratio)
- Low output noise
- Low input voltage
- Low quiescent current
Specifications
- 1.8V to 5.5V wide input voltage range
- 1.0V to 4.5V output voltage range
- 300mA output current
- ±1% output voltage accuracy
- 80dB ripple rejection at 1kHz
- Low output noise of 60µVrms from 10Hz to 100kHz
- Low quiescent current of 45µA
Applications
- Smartphones and tablets
- RF supply
- Cameras
- Portable video
- Portable media player
- Wireless adapter
- Wireless communication
Application Circuit
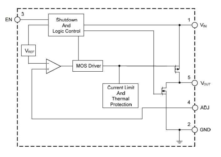
Block Diagram
發佈日期: 2018-02-10
| 更新日期: 2022-09-18
