Analog Devices / Maxim Integrated DS28C40 DeepCover汽車I²C認證器
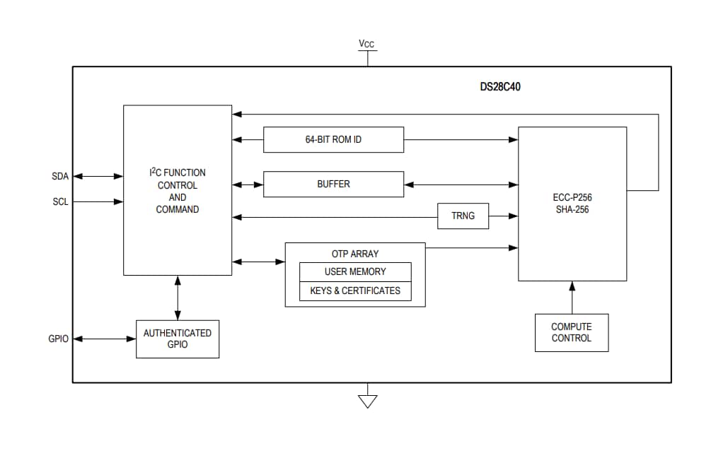
Maxim Integrated DS28C40 DeepCover汽車I2C認證器提供一組源自整合式不對稱(ECC-P256)及對稱(SHA-256)安全功能的核心加密工具。該裝置整合一個FIPS/NIST真亂數生成器(TRNG)、6Kb一次性可編程(OTP)記憶體(用於使用者資料、金鑰及證書)、一個可配置的GPIO及一個獨特的64位ROM識別號(ROM ID)。ECC公鑰/私鑰功能透過NIST定義的P-256曲線運作,並包括FIPS 186-4相容的ECDSA簽名生成和驗證,支援雙向不對稱金鑰驗證模式。SHA-256金鑰功能與FIPS 180相容,可靈活搭配ECDSA運行,亦可獨立用於多項HMAC功能。GPIO引腳擁有在命令控制下操作的選項,並且支援對認證及非認證操作進行配置。當中包括一個基於ECDSA的金鑰強健模式,以支持主機處理器的安全啟動。DeepCover®內建安全解決方案將敏感資料隱藏在多層高級安全之下,提供最安全的金鑰存儲。為防止裝置級的安全攻擊,實施了侵入性及非侵入性對策,包括主動遮罩、金鑰加密存儲及演算法方法。
特點
- ECC-P256計算引擎
- FIPS 186 ECDSA P256簽名生成及驗證
- 用於建立會話金鑰的ECDH金鑰交換
- 經過ECDSA認證的可配置記憶體讀寫功能
- SHA-256計算引擎
- 用於雙向認證的FIPS 198 HMAC
- 使用ECDH建立的金鑰實現對SHA-256可配置記憶體的一次性密碼本加密讀寫
- 一個帶可選認證控件的GPIO引腳
- 開漏;4mA/0.4V
- 可選的SHA-256或ECDSA認證開/關及狀態讀取
- ECDSA證書驗證(選配),用於在安全啟動的多塊散列之後設置開/關
- 附帶NIST SP 800-90B相容熵源的TRNG,具有讀取功能
- 晶片生成型私鑰/公鑰對(可選),用於ECC操作
- 6Kb一次性可編程(OTP)記憶體,用於用戶資料、金鑰及證書
- 唯一及不變的出廠程式64位識別號(ROM ID)
- 輸入資料組件(選配),用於加密及金鑰操作
- I2C通訊:高達1MHz
- 操作範圍:3.3V ±10%、-40°C至+125°C
- 10引腳、3mm x 4mm TDFN封裝
- AEC-Q100 1級
應用
- 汽車安全認證
- 汽車零部件/工具/附件的識別及校準
- 物聯網節點加密保護
- 附件及週邊裝置的安全認證
- 主機控制器的加密金鑰的安全存儲
- 韌體及/或系統參數的安全啟動或下載
影片
簡化的結構圖
Typical Application Circuit
Additional Resources
發佈日期: 2019-07-23
| 更新日期: 2025-08-14
