AD5940測量通道具備16位元、800 kSPS、多通道連續漸進暫存器 (SAR) 類比轉數位轉換器 (ADC) 含輸入緩衝區、內建式去頻疊濾波器,和可程式增益放大器 (PGA)。ADC前端的輸入Mux可讓使用者選擇測量的輸入通道。這些輸入通道包含多重外部電流輸入、外部電壓輸入和內部通道。內部通道能提供內部供應電壓、晶粒溫度和參考電壓的診斷測量。
AD5940可在2.8V至3.6V供應範圍內作業,額定溫度範圍介於-40°C至+85°C。AD5940採用56導線,3.6 mm × 4.2 mm的晶圓級晶片尺寸封裝 (WLCSP)。
特點
- 類比輸入:
- 16位元,800kSPS ADC
- 電壓、電流和阻抗功能
- 內部和外部的電流與電壓通道
- 超低洩漏開關矩陣和輸入Mux
- 輸入緩衝區和可程式增益放大器電壓DAC
- 電源:
- 開機重置
- 休眠模式下可啟動低功率DAC和恆電位器放大器,以維持感測器偏壓
- 放大器、加速器和參考:
- 1個低功耗、低雜訊的恆電位放大器,適用於電化學感測的恆電位偏壓
- 1個低雜訊、低功耗的轉換阻抗TIA,適合測量電流輸出
- 可程式的負載和增益電阻器,用於感測器輸出
- 類比硬體加速器
- 數位波形產生器
- 接收濾波器
- 複阻抗測量 (DFT) 引擎
應用
- 電化學測量
- 電化學氣體感測器
- 恆電位/安培檢測法/伏安法/循環伏安法
- 生物阻抗
- 皮膚阻抗
- 身體阻抗
- 連續血糖監測
- 電池阻抗
規格
- 類比輸入、放大器、加速器和參考:
- 16位元,800kSPS ADC
- 雙輸出電壓DAC,輸出電壓範圍介於0.2V至2.4V
- ±607mV輸出至感測器
- 50pA至3mA範圍
- 2.5V和1.82V內部參考電壓來源
- 6.5µA超低功耗恆電位通道
- 電源:
- 2.8V至3.6V供電電壓
- 1.82V輸入/輸出相容
- 封裝與溫度範圍:
- 56球WLCSP
- 尺寸:3.6mm x 4.2mm
- 作業溫度範圍介於-40°C至85°C
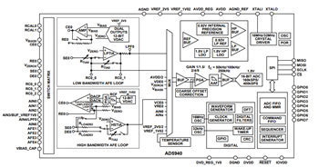
AD5940方塊圖
其他資源
液體測量 – 從水到血液
本文重點介紹了醫療領域的液體測量,進而介紹了各種應用以及阻抗測量的多功能性。
瞭解詳情
- Bioelectrical Impedance Analysis Article
- Optimizing the AD5940 for Electrochemical Measurements Application Note
- Implementing the AD5940 and AD8233 in a Full Bioelectric System Application Note
基於條件的人體監測
隨著技術進步,生命體征監測將在各行各業及我們的日常生活中變得越來越常見。無論是用於治療還是用於預防,這種與健康有關的解決方案都需要可靠强大的技術。
瞭解詳情
發佈日期: 2019-05-07
| 更新日期: 2024-01-04

