特點
- 無混疊:在高性能模式下,固有的抗混疊抑制為102.5dB(典型值)
- 出色的AC與DC性能
- 在ODR=374kSPS、FIR濾波器時的動態範圍為108dB(典型值)
- 在ODR=10SPS、sinc3濾波器時的動態範圍為137dB(典型值)
- THD:-120dB(典型值),1kHz輸入音調
- 偏移誤差漂移:0.9µV/°C(典型值)
- 增益漂移:2ppm/°C(典型值)
- INL:FSR典型值為±2ppm
- 動態範圍增強:4:1及2:1平均模式
- 126dB加權動態範圍
- 電阻ADC及參考輸入
- 易於同步:非同步取樣率轉換器
- 透過一條訊號線實現多裝置同步
- 解析度為0.01SPS的可程式化資料速率從0.01kSPS至1496kSPS
- 透過外部訊號控制輸出資料速率的選項
- 線性相位數位濾波器選項
- 低紋波FIR濾波器:32µdB通帶紋波(DC至161.942kHz)
- 低延遲的Sinc3濾波器及Sinc6濾波器(DC至391.5kHz)
- 具有50Hz/60Hz抑制功能的Sinc3濾波器
- 130.7dBFS串擾
- 菊式鍊
- 資料及SPI的CRC錯誤校驗
- 兩種功率模式:高效能模式及低功率模式
- 4.5V至5.5V及1.65V至1.95V電源
- 1.8V IOVDD級
- 4.096V或5V外部參照
- 48MHz晶體或外部CMOS時鐘
- SPI或腳位(獨立)可配置操作
- 操作溫度範圍:-40°C至 + 105°C
- 具有8mm x 8mm、56引線LFCSP封裝及外露墊
應用
- 電子測試及測量
- 音訊測試
- 三相功率品質分析
- 迴路驗證中的控制與硬件
- 聲納
- 預測維護狀態監測
- 聲學及材料學研究與開發
影片
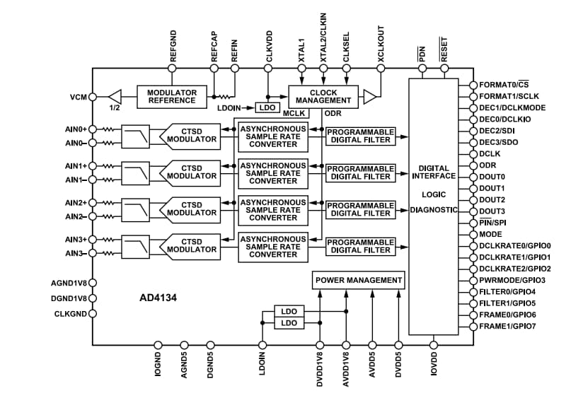
方塊圖
發佈日期: 2021-12-27
| 更新日期: 2025-07-31

